來自一汽紅旗的銷量數據顯示,今年7月份紅旗銷量突破了37324輛,同比增長21.1%,并且紅旗還表示,當月紅旗新能源產品銷量同比增長66.1%,紅旗燃油車產品銷量同比增長5.1%。紅旗金葵花產品銷量再破百臺。

【01】 銷量整體上漲,天工系列仍待提升
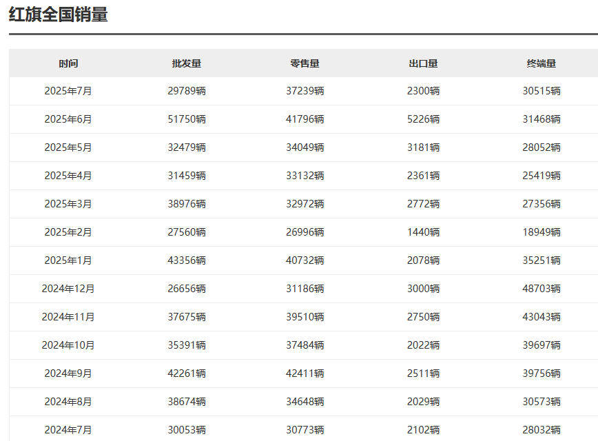
從表面上看,一汽紅旗7月份的銷量表現似乎還不錯,尤其是和過去的銷量相比進步是十分明顯的。但是仔細看一下零售數據和各車型的銷量,也會發現一些槽點。以第三方平臺披露的7月份零售銷量為例,紅旗3萬多臺銷量中,占據了12938輛,占比在三分之一左右,而這是一臺終端讓利在4.5萬上下的車型,銷量走高和終端讓利大有很大關系。


而銷量第二位的則是紅旗最暢銷的SUV車型,其7月份零售量為6887輛,雖然銷量也不錯,但是終端也有不少讓利。紅旗H5和紅旗HS5的整體零售銷量達到了1.9萬余輛,占到了紅旗整體銷量的一半以上。

而排在第三位的則是紅旗E-QM5,7月份銷量6775輛,雖然是一款新能源車,但也比較入門,而且其在網約車市場也占相當比例。至于紅旗HS3 PHEV、紅旗HS3、紅旗H6、紅旗H5 PHEV等車型當月銷量則在1000多至3000多臺間。

發現沒有,上述比較走量的車型,要么是傳統的燃油車,要么就是在網約車市場占據一定份額的車型,而真正代表紅旗技術水平的“天工”系列車型,銷量表現卻僅有數百臺,我想恐怕是令紅旗難以接受的。

要知道,去年11月,一汽紅旗曾在紅旗品牌新能源之夜上推出了天工純電平臺,并對基于該平臺推出的車型寄予了厚望,但相關平臺誕生的車型銷量表現似乎并不樂觀。仍以7月零售銷量為例,天工06、天工05、天工08等幾款代表產品,當月零售量分別為351輛、175輛、159輛,如此成績我想恐怕并不符合一汽紅旗的預期。
【02】五年千億研發投入,今年能否銷量達標?
事實上,今年一汽紅旗定下了年銷量50萬臺的目標,而公開數據顯示,今年1-7月一汽紅旗累計零售銷量在24.69萬輛上下,雖然一年已經過半,但是一汽紅旗的整體銷量并未達到銷量目標的一半,這意味著,紅旗今年能否達成年銷目標還并不好說。

值得一提的是,中國一汽董事長邱現東曾在2024年透露,一汽紅旗未來5年將投入1200億研發資金,著力攻克983項關鍵核心技術。而在2024年底的一汽紅旗新能源品牌之夜上,紅旗更是先后發布了天工純電平臺、九章智能平臺等研發成果,并再次重申了未來5年將投入1200億研發資金,聚焦純電、混動與智能領域研發。

同時令人關注的還有,有消息指出,紅旗的母公司中國一汽正在正在籌劃收購零跑汽車10%左右股份,成為其戰略股東。不過針對此消息,零跑方面表示不予置評,而一汽方面則表示消息不屬實。
不過,一汽和零跑之間的合作其實早有眉目,今年3月,中國一汽與零跑汽車正式簽署《戰略合作諒解備忘錄》,雙方將在兩個層面展開合作:一是雙方探討資本方面的合作,使得雙方實現產業鏈資源協同。二是雙方將對新能源乘用車展開聯合開發及零部件合作。并有消息指出,零跑與紅旗合作的第一款車型已處于開發過程中,并計劃利用一汽的海外渠道于明年下半年上市銷售。
公開信息還顯示,在中國一汽電子招標采購交易平臺,紅旗品牌G117產品整車聯合開發及平臺許可費技術采購已經成交,成交人為浙江零跑科技股份有限公司。據悉,紅旗G117產品或將采用零跑汽車最新的LEAP3.5技術架構。
同時,零跑董事長朱江明也曾數次表示,一汽選擇與零跑汽車合作,看重的是零跑全域自研的能力。
在筆者看來,一汽和零跑的合作確實是一步好棋,也是迅速彌補一汽新能源短板的捷徑,但是這里也有個疑問,那就是此前一汽董事長邱現東所宣稱的一汽紅旗未來5年將投入1200億研發資金是否包含了和零跑合作的預算?而未來紅旗和零跑合作的車型或者將要搭載相關技術的車型,和紅旗自研的天工平臺及九章智能所推出的系列的車型將是何種關系?

對于上述疑問,個人認為一汽紅旗還是應當講清楚,畢竟作為三大央企的排頭兵,紅旗被傾注了大量資源,并且未來也有大量資源扶持,那在這樣的背景下,其研發投入和產出是否匹配,也是一個需要關注的點。
寫在最后:
總之,從目前的銷量表現來看,一汽紅旗整體銷量雖然不錯,呈現出上漲態勢,但是在銷量結構上,新能源車型占比較低,尤其是被給予厚望的天工系列車型銷量表現不佳,單車月銷量僅有數百臺的成績,在這樣的背景下,如何改變目前的銷量結構,提振新能源車的銷量占比對于一汽紅旗而言,既是達到年銷目標的必然要求,也是能夠在未來競爭中脫穎而出的關鍵。